搜索關鍵字:
全國服務熱線




400-839-1983
120mm標準儀表安裝
貝特-智能儀表直供廠家
|
量程范圍 |
0~40MPa/0-100m |
精度等級 |
0.5% |
|
過載能力 |
200% |
壓力類型 |
表壓/液位 |
|
穩定性 |
≤0.1% /年 |
電源電壓 |
220VAC/24CDC |
|
顯示方式 |
0.56"數碼管 |
顯示范圍 |
-1999~9999 |
|
環境溫度 |
-20℃~70℃ |
相對濕度 |
≤80% |
|
安裝螺紋 |
M30*1.5 |
材質 |
不銹鋼 |
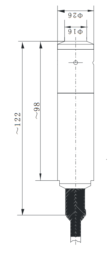
外形尺寸

安裝連接
機械連接:
它可以通過壓力管接頭(M20*1.5)(其他尺寸接頭可在訂貨時說明)直接裝在液壓管路上。在關鍵應用場合(如劇烈震動或沖擊), 壓力管接頭可以通過微型軟管進行機械解耦。液位產品按照法蘭固定。
注:量程小于100KPa時垂直安裝.
電氣連接:
為了防止電磁干擾的影響應注意以下事項:
●線路連接盡量短,采用屏蔽線
●盡量避免直接接近引起干擾的用戶裝置或電器和電子裝置的接線
●若用微型軟管安裝,殼體單獨接地
一、設置功能
輸出: 有四路開關量輸出。相應的輸出會在開關點的吸合值到達時切換并 在壓力下降到低于釋放值時回 復。
設置開關點
AL1H此值為開關1吸合值
AL1F此值為開關1釋放值
AL2H此值為開關2吸合值
AL2F此值為開關2釋放值
AL3H此值為開關1吸合值
AL3F此值為開關1釋放值
AL4H此值為開關2吸合值
AL4F此值為開關2釋放值
BASE此值為基值.
FILT此值為顯示濾波值.
END 保存退出
顯示值=基值+測量值,所以設置了基值以后控制值按照顯示值來設定 .
注:開關點由吸合值和釋放值組態決定,吸合值大于釋放值時為上限報警輸出(常開功能),吸合值小于釋放值時為下限報 警輸出(常閉功能)吸合值與釋放值的差值為開關點的回差。
例:要設定開關點1為上限報警輸出(常開功能)在4Mpa
吸和,小于3.95Mpa斷開,;開關點2為下限報警輸出(常閉功能) 在 10Mpa斷開,低于9.95Mpa吸和:進入菜單:設定
AL1H=4.00 AL1F=3.95
AL2H=9.95 AL2F=10.00
●按下“SET”鍵
●顯示“LOCK” (提示輸入密碼)
●按▲或▼鍵輸入密碼“1”,
●按下“SET”鍵確認
●按▲或▼鍵上翻或下翻進行菜單選擇(AL1H、AL1F、AL2H、AL2F、、、、、END)
●按下“SET”鍵進入所選菜單。
●按▲或▼鍵更改設置
●按下“SET”鍵確認,若需要,再用▲或▼鍵選擇其他菜單進行修改。
●修改完成后選擇“END”菜單,按“SET”鍵確認保存退出
●若30秒無鍵按下,則自動退出設置狀態,但是不保存所修改的數據。
一、使用須知:
1. 儀表儲藏與使用適宜在環境溫度為-20℃~70℃ ,現對濕度小于80%的場合.
2. 儀表連接電源時應參照5.2電氣連接進行操作,在確認操作無誤后方可接通電源進行運行.
3. 拆卸儀表時,不可對儀表殼體施力。
二、質保
用戶在遵守使用和保護規則條件下,儀表自出廠日期起保修一年. 一年后修在本公司進行。本公司隨時歡迎用戶來函、來電咨詢及提出建議。