搜索關鍵字:
全國服務熱線







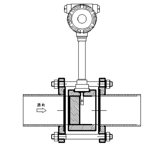
LUGB系列渦街流量計可用于各種氣體、液體和蒸汽的流量檢測及計量。
LUGB系列渦街流量計可以與本公司生產的智能流量積算儀配套使用,也可以和其它儀表廠商生產的智能儀表配套使用,具有通用性強的特點。
400-839-1983
| 環境溫度 | (-40~55)℃ |
| 相對濕度 | (5~90)% |
| 大氣壓力 | (86—106)Kpa |
| 公稱通徑 | (15~1500)mm(大于200mm為插入式結構) |
| 測量介質 | 液體、氣體、蒸汽 |
| 公稱壓力 | 1.6Mpa 2.5Mpa 4.0Mpa |
| 介質溫度 | (-40~+350)℃ |
| 精度等級 | 0.5級,1.0級1.5級,2.5級 |
| 線性度 | ≤±1.5% |
| 重復性 | ≤0.5%,≤1.0% |
| 輸出信號 | 電壓脈沖 |
| (4~20)mA DC(兩線制) | |
| 供電電源 | 電壓脈沖 12V DC或24V DC |
| 電流型 24V DC | |
| 智能電流型 24V DC | |
| 智能電池型 3.6V DC | |
| 負載電阻 | 上限負載電阻不超過350Ω |
| 本體材質 | 304不銹鋼 |
| 連接方式 | (15~300)mm 法蘭卡裝式結構 |
| (200~1500)mm 為插入式結構 | |
| 保護等級 | IP65, IP67 |
| 電纜接口 | PG10 |
| 防爆類型 | 本安型; 隔爆型 |
| 防爆標志 | iaⅡCT6; dIIBT4 |
| 公稱直徑 | 內徑 | 卡裝式本體 | ||
| 長L | 外徑D | 總高H | ||
| 15 | 15 | 50 | 88 | 335 |
| 20 | 20 | 50 | 88 | 335 |
| 25 | 25 | 50 | 88 | 335 |
| 32 | 32 | 50 | 88 | 335 |
| 40 | 39 | 50 | 88 | 335 |
| 50 | 49 | 70 | 88 | 335 |
| 65 | 64 | 70 | 105 | 345 |
| 80 | 79 | 80 | 117 | 365 |
| 100 | 99 | 80 | 140 | 382 |
| 125 | 125 | 70 | 168 | 395 |
| 150 | 149 | 70 | 190 | 425 |
| 200 | 207 |
|
|
|
| 250 | 259 |
|
|
|
| 300 | 309 |
|
|
|
法蘭卡裝式流量計安裝結構圖
場景應用